A New Non-Toxic and at least 50% fuel saveing Cookware
Invention
International Patent Application No. PCT/GB2024/050752
Financial support needed
Financial support needed to invest in this new cookware concept. This is a multibillion pound business. Because this new cookware protects against cancer, saves at least 50% fuel cooking cost. Moreover because of environmental necessities, this cookware may become the only one allowed for cooking use legally.
Financial support can be provided in two ways or both:
1- Pay the cost of patenting it outside UK in any country or countries. For this 25% of the patent right becomes yours per
country. I remain as inventor and keep 75% of patent right. Latest date for patent applications is September 22 2025.
2- Invest in this cookware to manufacture and market it and harvest your investment reward.
The following is a brief introduction to the cookware in my own words:
Please Click for full dtails written by my UK patent attorney
Contact details: tomove@hotmail.co.uk, Mobile and WhatsUp: 077 1212 6265 UK
These details are confidential. When any one reads them, he or she becomes under obligation legally not to disclose them to any one else. If any one not able to keep this confidentiality please she or he should not read further. Thank you.
Cook it at 100C
Patent
pending. Patent Application No: GB 230 841 9.7
The following is a brief introduction:
Cook it at 100C, CIA 100C, is a cooking pan, which cook-boils food at around 100C under normal atmospheric pressure to remove the risk of diseases like cancer. CIA 100C cooking pan has these distinguishing advantage:
1- It removes the risk of cancer.
2- It can start cooking almost immediately. It is six seconds based on my assumptions and calculations. But practically it may be a minute or more.
3- It has a faster heating exchange rate, can be made 10+ times faster.
4- It doesn't waste energy, except the energy used to raise temperature of cooking food to cooking temperature. The rest of the temperature recycled or stored for later reuse. Lets use boiling egg as an example. Based on this source: www.parentclub.scot/recipe/boiled-eggs, soft-boiled egg takes at least 5 minutes after the water boils. With CIA 100C all energy used during thiese 5 minutes recycled or stored for later use. But when it comes to eggs, you can cook it with CIA 100C with steam, without boiling water. The only energy used is the energy to raise the temperature of the egg to cooking temperature. So you also saved the energy to boil water.
5- Points 2 and 3 indicate good time saving.
6- It is extremely environmentally friendly. Imagine when CIA 100C used in every kitchen how much energy saved and how much CO2 and heat reduced from release into the air.
7- Because of environmental necessities, one day it becomes a law everywhere to use only CIA 100C for cooking.
No one is aware that normal boil-cooking food creates the risk of diseases like cancer just like roasting, frying and griddling foods. The following quote is an example of cancer risk from air fryers:
Quote: “Not only does air frying still run the risk of creating acrylamides, but polycyclic aromatic hydrocarbons and heterocyclic amines can result from all high-heat cooking with meat. These compounds have associations with cancer risk, according to the National Cancer Institute†.
Quoted from this link: www.medicalnewstoday.com/articles/324849#how-do-air-fryers-work
The same cancer risks apply on boil-cooking. This is because the cooking fire is nearly 2000C high, causing the base of cooking pan to get the same heating level. Because the food inside the cooking pan touches the base of the cooking pan, it develops the same cancer risks
Quote: “With complete combustion, an LPG (Propane) flame burns at a temperature of around 1,980°C. For Natural Gas (Methane), the temperature is about 1,960°C, according to the flame color temperature chartâ€.
Quoted from: www.elgas.co.nz/resources/elgas-blog/242-why-does-a-gas-flame-burn-blue-lpg-gas-natural-propane-methane
Foods, during cooking, get acrylamides, polycyclic aromatic hydrocarbons and heterocyclic amines at temperatures between 120C and 300C. But the base of the cooking pan becomes hot as high as the fire, beneath it, which is nearly 2000C.
Quote: “The assessment confirms that acrylamide levels found in food have the potential to increase the risk of cancer for people of all ages. However, it's not possible to estimate how much the risk is increased. Acrylamide in your diet could contribute to your lifetime risk of developing cancerâ€.
Quoted from this link: www.food.gov.uk/safety-hygiene/acrylamide
Quote: “Acrylamide usually forms at elevated temperatures used when frying or baking (above 120 °C (248 °F)) and in low moisture conditions. Acrylamide can form in some potato-based foods during certain types of high-temperature cookingâ€.
Quoted from: www.fda.gov/media/149436/download
Quote: “PAHs generally have a low degree of acute toxicity to humans. The most significant endpoint of PAH toxicity is cancer. Increased incidences of lung, skin, and bladder cancers are associated with occupational exposure to PAHs†polycyclic aromatic hydrocarbons.
Quoted from: www.atsdr.cdc.gov/csem/polycyclic-aromatic-hydrocarbons/health_effects.html
Quote: “PAHs are formed when meat is processed at 150–300°C (high temperature) “.
Quoted from: www.ncbi.nlm.nih.gov/pmc/articles/PMC8194747/
Quote: “Heterocyclic Amines (HCAs)
PhIP specifically has been associated with an increased risk of intestinal and mammary adenocarcinomas in rodents, as well as prostate tumors in rats. MeIQx can induce tumors at multiple sites in rodents such as the liver and lung as well as lymphomas and leukemiasâ€.
Quoted from: www.sciencedirect.com/topics/pharmacology-toxicology-and-pharmaceutical-science/heterocyclic-amine
Quote: “Though most HCAs are generated at temperatures >150 °C, even lower temperatures have also been shown generate HCAs, depending on the duration and method of cooking. For
example, smoking fish at 80–85 °C for 4–6 h has been reported to produce HCAsâ€.
Quoted from: www.sciencedirect.com/topics/nursing-and-health-professions/heterocyclic-amine
Distinguished properties of CIA 100C,
CIA 100C is made up of two chambers, an inner chamber and outer chamber. Food is boil-cooked inside inner chamber. Fire put under outer chamber, which boils the water inside it. The boiling water inside outer chamber boils the water inside inner chamber to cook the food inside inner chamber.
The base of outer chamber becomes as hot as the fire beneath it. But the base of inner chamber temperature doesn't rise more than the temperature of the boiling water, inside outer chamber, which is around 100C under normal atmospheric pressure. . This is how the food inside inner chamber remain healthy and doesn't become carcinogenic.
Additionally, CIA 100C can be used to start cooking almost immediately to save time or used to cook like normal cooking. Further more CIA 100C saves energy as much as 50%. The only energy used is the energy to raise temperature of cooking ingredient to cooking temperature. The rest of the energy recycled or stored for reuse. CIA 100C also has very fast heat exchange system.
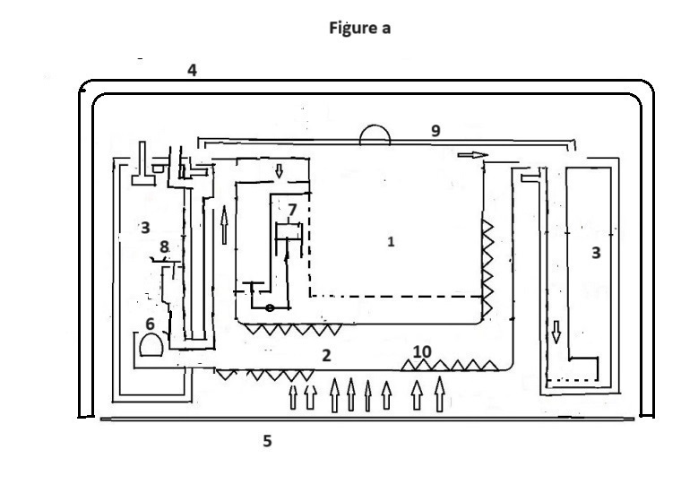
Figure a bellow is a brief technical and operational description of CIA 100C.
CIA 100C is made up mainly of inner chamber 1, outer chamber 2, water/heat storage 3, external heat insulator 4 and 5, water control floater 6, steam control floater 7, pressure relief valve 8, cover 9 and area expanders 10.
To operate CIA 100C, put food and some water in inner chamber 1 and cover it with cover 9. Fill water/heat storage 3 with water. Water control floater 6 lets some water to flow into outer chamber 1. Once water level in outer chamber 2 reaches the level of water control floater 6, it stops water flow any more.
Put fire under outer chamber 2. The water in outer chamber quickly vaporises because it is not a lot. The vapour heats inner chamber 1 and also flows into inner chamber 1 to speed up cooking. Any steam not condensed flows into water/heat storage 3, where it condenses and stores the heat, which it carries, into water/heat storage 3. The steam follows the direction of the arrow.
As the level of shallow water in outer chamber 2 becoming lower than the level of water control floater 6 because of vaporisation, water control floater 6 lets more water to flow into out chamber 2. to replace vaporised water. But this time, the new water flow is warm/hot because of recycled steam. This speeds up cooking and saves energy.
Liquid level rises inside inner chamber 1 because of steam condensation. When the level of water reaches steam control floater 7, it stops any more steam coming into inner chamber 1. After that, pressure relief valve 8 opens to let steam flowing into water/heat storage 3 to condense and store any energy carries. Area expanders 10 speed up heating conduction by multiple times. For example if area expanders 10 increase the area, exposed to heat, by 10 times and a normal boiling time of an amount of water is 10 minutes, area expanders 10 will reduce boiling time to one minute. This save time and uses energy more efficiently.
At the end of cooking, put CIA 100C on external heat insulator 5 and cover it with external heat insulator 4 to keep the heat inside water/heat storage 3 for reuse next time. Water/heat storage 3 also made from or covered with heat insulating material to add more protection against the lose of stored heat.

